Is this the next-gen Suzuki GSR-250 (Inazuma)?
Leaked patent images reveal a new design for the exhaust pipe of what seems to be the next-generation Suzuki GSR-250.

Also Read: Suzuki Gixxer 250 - IAB Rendering
The silhouette of the motorcycle in the images resembles the GSR-250, which was also known as the Inazuma in select markets. This product, however, has been discontinued. Does this mean that the Japanese brand plans to revive the product? The details are scarce at the moment, and we would wait for an official announcement before making any comments.
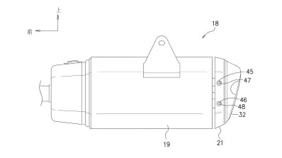
The leaked images reveal a shorter and fatter exhaust canister compared to that of the old model. Another picture shows the horizontally placed twin outlets on the exhaust canister. The new exhaust should be quieter. Do note that the Inazuma was equipped with a twin-sided exhaust, while the motorcycle in the patent images appears to use a single-sided unit. The patent states:
The muffler (18) of a saddle-ride type vehicle that reduces exhaust noise when exhausting exhaust gas from an internal combustion engine includes a muffler body (19) having a tail pipe (24) protruding rearward and a rear portion of the muffler body (19). And a tail cover (21) for covering the tail pipe (24).
All other design details are identical to the current model. Thus, there's a single-pod headlight at the front. The cockpit features a tall-set handlebar in a familiar style. The fuel tank retains the shrouds with integrated front blinkers for a muscular look and clean lines. A single-piece saddle, with a step-up pillion seat, follows the fuel tank. The side/rear panel retains its upswept design.
The three-spoke alloy wheels are also clearly visible in the leaked patent images. The hardware setup hasn’t changed either, and shock absorption tasks are continued to be performed by a rear monoshock and conventional telescopic front forks. Braking setup comprises single discs.
The engine, like that of the old model, is likely to be a 248 cc twin-cylinder, liquid-cooled layout, although the performance numbers may differ from the 26.4 PS of max power and 22 Nm of peak torque output of the old unit. The engine will be linked to a six-speed transmission. The same motor may power the Euro-V compliant V-Storm 250 and the GSX-S250 as well.

Also Read: Suzuki Gixxer SF 250 to be privately imported for sale in Japan from August
We may hear more details about Suzuki’s new 250 cc models at the 2019 Tokyo Moto Show. This motorcycle is not likely to arrive in the India. For our market, the company is currently working on the launch of the facelifted Gixxer 155 and the Gixxer 250.
[Image Source: kojintekibikematome.blog.jp]